| ||||||
| № п/п | Наименование | Код детали | SD16 | SD16E | SD16L | |
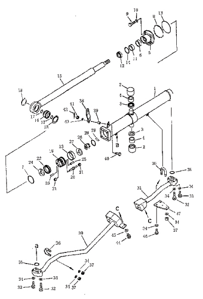
| 1 | Гидроцилиндр подъема отвала левый | 16L-62C-20000 | - | - | 1 | |
| 1 | Гидроцилиндр подъема отвала правый | 16L-62C-10000 | - | - | 1 | |
| 1 | Корпус левого гидроцилиндра | 16L-62C-20200 | - | - | 1 | |
| 1 | Корпус правого гидроцилиндра | 16L-62C-10200 | - | - | 1 | |
| 2 | Втулка | 16Y-62-50002 | - | - | 4 | |
| 3 | Кольцо пылезащитное | 07145-00055 | - | - | 4 | |
| 4 | Втулка | 16Y-62-50500 | - | - | 4 | |
| 5 | Крышка | 16Y-62-50005 | - | - | 2 | |
| 6 | Кольцо направляющее | 16Y-62-50003 | - | - | 2 | |
| 7 | Кольцо круглого сечения | 07000-13038 | - | - | 2 | |
| 8 | Кольцо защитное | 07146-02106 | - | - | 2 | |
| 9 | Болт | 01010-52055 | - | - | 8 | |
| 10 | Шайба | 01643-32060 | - | - | 8 | |
| 11 | Сальник | 16Y-62-50200 | - | - | 2 | |
| 12 | Кольцо пылезащитное | 16Y-62-50001 | - | - | 2 | |
| 13 | Кольцо круглого сечения | 07000-12105 | - | - | 2 | |
| 14 | Кольцо | 16Y-62-50008 | - | - | 2 | |
| 15 | Шток поршня | 16Y-62-50100 | - | - | 2 | |
| 16 | Подшипник соединительный | 07137-04006 | - | - | 2 | |
| 17 | Кольцо круглого сечения | 07000-13040 | - | - | 4 | |
| 18 | Шайба пружинная | 04065-09030 | - | - | 4 | |
| 19 | Поршень | 16Y-62-50800 | - | - | 2 | |
| 20 | Стержень клапана | 16Y-62-50803 | - | - | 6 | |
| 21 | Седло клапана | 16Y-62-50802 | - | - | 12 | |
| 22 | Кольцо | 16Y-62-50700 | - | - | 2 | |
| 23 | Кольцо опорное | 16Y-62-50009 | - | - | 4 | |
| 24 | Пластина стопорная | 16Y-62-50004 | - | - | 2 | |
| 25 | Палец | 16Y-62-50804 | - | - | 4 | |
| 26 | Гайка | 16Y-62-50011 | - | - | 2 | |
| 27 | Пластина стопорная | 16Y-62-50010 | - | - | 2 | |
| 28 | Проволока | 04059-01032 | - | - | 2 | |
| 29 | Винт фиксирующий | 01322-40812 | - | - | 2 | |
| 30 | Трубка передняя левая | 16L-62C-20100 | - | - | 1 | |
| 30 | Трубка передняя правая | 16L-62C-10100 | - | - | 1 | |
| 31 | Трубка задняя левая | 16L-62C-20300 | - | - | 1 | |
| 31 | Трубка задняя правая | 16L-62C-10300 | - | - | 1 | |
| 32 | Болт | 01010-51055 | - | - | 8 | |
| 33 | Болт | 01010-51045 | - | - | 8 | |
| 34 | Шайба | 01643-31032 | - | - | 24 | |
| 35 | Кольцо круглого сечения | 07000-13035 | - | - | 4 | |
| 36 | Хомут U-образный | 07283-23442 | - | - | 4 | |
| 37 | Гайка | 01599-01011 | - | - | 8 | |
| 38 | Пластина опорная | 16L-62C-10002 | - | - | 2 | |
| 39 | Втулка | 16Y-62-50007 | - | - | 2 | |
| 40 | Болт | 01010-31245 | - | - | 2 | |
| 41 | Гайка | 01590-11215 | - | - | 2 | |
| 42 | Чека разводная | 04050-13036 | - | - | 2 | |
| 43 | Шайба | 0164-3-31232 | - | - | 2 | |
| 44 | Болт | 01010-30820 | - | - | 4 | |
| 45 | Шайба | 01643-30823 | - | - | 4 | |
| 46 | Болт | 01010-31025 | - | - | 4 | |
| 47 | Пластина | 16L-62C-10001 | - | - | 2 | |
Обращаем Ваше внимание, что пункты отмеченные звездочкой, обязательны для заполнения.