| ||||||
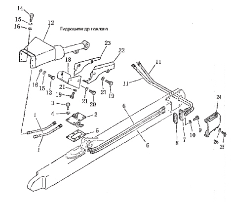
| № п/п | Наименование | Код детали | SD16 | SD16E | SD16L | |
| 1 | Рукав | 07113-00306 | 2 | 2 | 2 | |
| 2 | Кронштейн | 16Y-63-10000 | 1 | 1 | 1 | |
| 3 | Болт | 01010-51230 | 6 | 6 | 6 | |
| 4 | Шайба | 01602-21236 | 6 | 6 | 6 | |
| 5 | Прокладка | 16Y-63-00005 | 1 | 1 | 1 | |
| 6 | Рукав | 07113-00317 | 2 | 2 | - | |
| 6 | Рукав | 07113-00315 | - | - | 2 | |
| 7 | Кронштейн | 16Y-63-08000 | 1 | 1 | 1 | |
| 8 | Шайба | 16Y-63-00004 | 1 | 1 | 1 | |
| 9 | Болт | 01010-51225 | 4 | 4 | 4 | |
| 10 | Шайба | 01602-21236 | 4 | 4 | 4 | |
| 11 | Рукав | 07113-00311 | 2 | 2 | - | |
| 11 | Рукав | 16L-63-60000 | - | - | 2 | |
| 12 | Крышка | 16Y-63-14000 | ] | ] | 1 | |
| 13 | Болт | 01010-51225 | 4 | 4 | 4 | |
| 14 | Болт | 01010-51235 | 1 | 1 | 1 | |
| 15 | Шайба | 01602-21236 | 5 | 5 | 5 | |
| 16 | Шайба | 01643-31232 | 5 | 5 | 5 | |
| 18 | Крышка нижняя | 16Y-63-12000 | 1 | 1 | 1 | |
| 19 | Болт | 01010-51230 | 4 | 4 | 4 | |
| 20 | Болт | 01010-51240 | 3 | 3 | 3 | |
| 21 | Шайба | 01602-21236 | 7 | 7 | 7 | |
| 22 | Крышка | 16Y-63-11000 | 1 | 1 | 1 | |
| 23 | Крышка | 16Y-63-09000 | 1 | 1 | 1 | |
| 24 | Крышка | 16Y-63-00006 | 1 | 1 | 1 | |
| 25 | Болт | 01010-51425 | 4 | 4 | 4 | |
| 26 | Шайба | 01602-21442 | 4 | 4 | 4 | |
Обращаем Ваше внимание, что пункты отмеченные звездочкой, обязательны для заполнения.