| ||||||
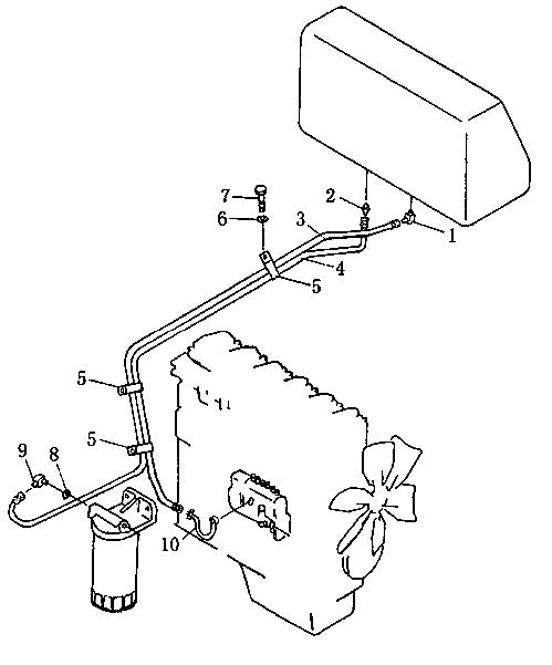
| № п/п | Наименование | Код детали | SD16 | SD16E | SD16L | |
| 1 | Патрубок | 16Y-04-00003 | 1 | 1 | 1 | |
| 2 | Штуцер | 16Y-04-00002 | 1 | 1 | 1 | |
| 3 | Шланг в сборе | 07102-20338 | 1 | 1 | 1 | |
| 4 | Шланг в сборе | 07102-20232 | 1 | 1 | 1 | |
| 5 | Хомут | 16Y-04-10000 | 3 | 3 | 3 | |
| 6 | Шайба | 01643-31232 | 3 | 3 | 3 | |
| 7 | Болт | 01010-51220 | 3 | 3 | 3 | |
| 8 | Кольцо круглого сечения | 07002-11423 | 1 | 1 | 1 | |
| 9 | Патрубок | 07235-10311 | 1 | 1 | 1 | |
| 10 | Трубка | 16Y-04-40000 | 1 | 1 | 1 | |
Обращаем Ваше внимание, что пункты отмеченные звездочкой, обязательны для заполнения.