| ||||||
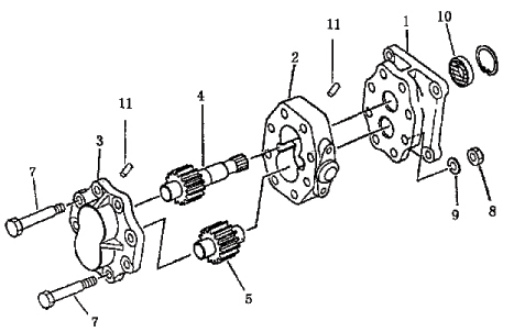
| № п/п | Наименование | Код детали | SD16 | SD16E | SD16L | |
| 0 | Насос рулевого управления | 16Y-76-06000 | 1 | 1 | 1 | |
| 1 | Крышка насоса передняя | 16Y-76-06100 | 1 | 1 | 1 | |
| 2 | Корпус насоса | 16Y-76-06002 | 1 | 1 | 1 | |
| 3 | Крышка насоса задняя | 16Y-75-24200 | 1 | 1 | 1 | |
| 4 | Шестерня ведущая | 16Y-76-06001 | 1 | 1 | 1 | |
| 5 | Шестерня ведомая | 16Y-76-06003 | 1 | 1 | 1 | |
| 7 | Болт | 01050-51290 | 8 | 8 | 8 | |
| 8 | Гайка | 01582-11210 | 8 | 8 | 8 | |
| 9 | Шайба | 01602-21236 | 8 | 8 | 8 | |
| 10 | Уплотнение масляное | 16Y-75-24300 | 1 | 1 | 1 | |
| 11 | Палец | 04020-00820 | 4 | 4 | 4 | |
Обращаем Ваше внимание, что пункты отмеченные звездочкой, обязательны для заполнения.