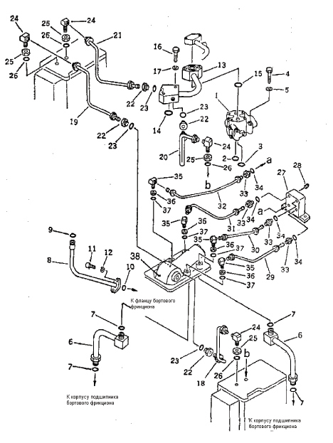
| ||||||
| № п/п | Наименование | Код детали | SD16 | SD16E | SD16L | |
| 1 | Клапан редукционный | 16Y-76-23000 | 1 | 1 | 1 | |
| 2 | Кольцо круглого сечения | 07000-03022 | 1 | 1 | 1 | |
| 3 | Кольцо круглого сечения | 07000-02012 | 1 | 1 | 1 | |
| 4 | Болт | 01010-51060 | 3 | 3 | 3 | |
| 5 | Шайба | 01602-21030 | 3 | 3 | 3 | |
| 6 | Трубка | 16Y-76-19000 | 2 | 2 | 2 | |
| 7 | Кольцо круглого сечения | 07000-02018 | 4 | 4 | 4 | |
| 8 | Трубка | 16Y-16-04000 | 1 | 1 | 1 | |
| 9 | Кольцо круглого сечения | 07000-02018 | 1 | 1 | 1 | |
| 10 | Кольцо круглого сечения | 07000-02015 | 1 | 1 | 1 | |
| 11 | Болт | 01010-51025 | 2 | 2 | 2 | |
| 12 | Шайба | 01602-21030 | 2 | 2 | 2 | |
| 13 | Трубка | 16Y-76-13000 | 1 | 1 | 1 | |
| 14 | Кольцо круглого сечения | 07000-03028 | 1 | 1 | 1 | |
| 15 | Кольцо круглого сечения | 07000-03025 | 1 | 1 | 1 | |
| 16 | Болт | 01010-51050 | 2 | 2 | 2 | |
| 17 | Шайба | 01602-21030 | 2 | 2 | 2 | |
| 18 | Трубка | 16Y-76-27000 | 1 | 1 | 1 | |
| 19 | Трубка | 16Y-76-20000 | 1 | 1 | 1 | |
| 20 | Трубка | 16Y-76-26000 | 1 | 1 | 1 | |
| 21 | Трубка | 16Y-76-21000 | 1 | 1 | 1 | |
| 22 | Штуцер | 07211-51016 | 4 | 4 | 4 | |
| 23 | Кольцо круглого сечения | 07002-01623 | 4 | 4 | 4 | |
| 24 | Штуцер | 16Y-76-00006 | 4 | 4 | 4 | |
| 25 | Гайка | 01583-11610 | 4 | 4 | 4 | |
| 26 | Кольцо круглого сечения | 07002-01623 | 4 | 4 | 4 | |
| 27 | Основание | 16Y-76-25000 | 1 | 1 | 1 | |
| 28 | Пробка | 07042-20108 | 4 | 4 | 4 | |
| 29 | Трубка | 16Y-76-17000 | 1 | 1 | 1 | |
| 30 | Трубка | 16Y-76-16000 | 1 | 1 | 1 | |
| 31 | Трубка | 16Y-76-24000 | 1 | 1 | 1 | |
| 32 | Трубка | 16Y-76-18000 | 1 | 1 | 1 | |
| 33 | Штуцер | 07211-50508 | 4 | 4 | 4 | |
| 34 | Кольцо круглого сечения | 07002-00823 | 4 | 4 | 4 | |
| 35 | Штуцер | 16Y-76-00007 | 4 | 4 | 4 | |
| 36 | Гайка | 01580-10806 | 4 | 4 | 4 | |
| 37 | Кольцо круглого сечения | 07002-00823 | 4 | 4 | 4 | |
| 38 | Гидрораспределитель рулевого управления | 16Y-76-22000 | ||||
Обращаем Ваше внимание, что пункты отмеченные звездочкой, обязательны для заполнения.