| ||||||
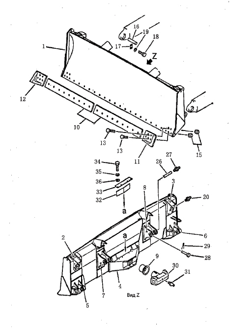
| № п/п | Наименование | Код детали | SD16 | SD16E | SD16L | |
| 1 | Отвал | 16Y-80-70000 | 1 | 1 | - | |
| 2 | Кронштейн левый | 16Y-80-70008 | 1 | 1 | - | |
| 3 | Кронштейн правый | 16Y-80-70030 | 1 | 1 | - | |
| 4 | Кронштейн | 16Y-80-70014 | 1 | 1 | - | |
| 5 | Кронштейн левый | 16Y-80-70006 | 1 | 1 | - | |
| 6 | Кронштейн правый | 16Y-80-70029 | 1 | 1 | - | |
| 7 | Кронштейн левый | 16Y-80-71000 | 1 | 1 | - | |
| 8 | Кронштейн правый | 16Y-80-72000 | 1 | 1 | - | |
| 9 | Втулка | 16Y-80-00013 | 1 | 1 | - | |
| 10 | Нож | 16Y-80-00019 | 2 | 2 | - | |
| 11 | Нож угловой левый | 16Y-81-00002 | 1 | 1 | - | |
| 12 | Нож угловой правый | 16Y-81-00003 | 1 | 1 | - | |
| 13 | Болт | 154-71-41270 | 28 | 28 | - | |
| 15 | Гайка | 154-70-22270 | 28 | 28 | - | |
| 16 | Палец | 16Y-80-00004 | 2 | 2 | - | |
| 17 | Блок стопорный | 16Y-80-00003 | 2 | 2 | - | |
| 18 | Болт | 01010-51635 | 4 | 4 | - | |
| 19 | Шайба | 01643-31645 | 4 | 4 | - | |
| 20 | Пресс-масленка | 07020-01018 | 2 | 2 | - | |
| 26 | Палец | 16Y-80-00002 | 2 | 2 | - | |
| 27 | Пресс-масленка | 07020-01018 | 2 | 2 | - | |
| 28 | Палец | 16Y-80-00001 | 2 | 2 | - | |
| 29 | Чека разводная | 04050-13016 | 2 | 2 | - | |
| 30 | Ось | 16Y-80-00014 | 1 | 1 | - | |
| 31 | Пресс-масленка | 07020-01018 | 1 | 1 | - | |
| 32 | Пружина | 16Y-80-00011 | 1 | 1 | - | |
| 33 | Крышка | 16Y-80-00012 | 1 | 1 | - | |
| 34 | Болт | 01010-51020 | 4 | 4 | - | |
| 35 | Шайба | 01602-21030 | 4 | 4 | - | |
| 36 | Шайба | 01643-31032 | 4 | 4 | - | |
Обращаем Ваше внимание, что пункты отмеченные звездочкой, обязательны для заполнения.