| ||||||
| № п/п | Наименование | Код детали | SD16 | SD16E | SD16L | |
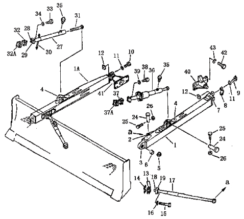
| 1 | Тяга отвала левая | 16Y-80-30000 | 1 | 1 | - | |
| 1A | Тяга отвала правая | 16Y-80-40000 | 1 | 1 | - | |
| 2 | Кронштейн | 16Y-80-30012 | 2 | 2 | - | |
| 3 | Деталь соединительная | 16Y-80-30007 | 2 | 2 | - | |
| 4 | Кронштейн | 16Y-80-30004 | 2 | 2 | - | |
| 5 | Стойка | 16Y-80-30005 | 2 | 2 | - | |
| 6 | Стойка | 16Y-80-30006 | 4 | 4 | - | |
| 7 | Опора | 16Y-80-31000 | 1 | 1 | - | |
| 8 | Крышка левая | 16Y-80-00006 | 1 | 1 | - | |
| 8 | Крышка правая | 16Y-80-00007 | 1 | 1 | - | |
| 9 | Болт | 01011-52465 | 2 | 2 | - | |
| 10 | Болт | 01011-52430 | 2 | 2 | - | |
| 11 | Шайба | 01643-32460 | 4 | 4 | - | |
| 12 | Гайка | 16Y-80-00008 | 4 | 4 | - | |
| 13 | Шайба 1,00 мм | 16Y-80-00016 | 24 | 24 | - | |
| 14 | Шайба | 16Y-80-00015 | 4 | 4 | - | |
| 15 | Болт | 01011-52055 | 8 | 8 | - | |
| 16 | Шайба | 01643-32060 | 8 | 8 | - | |
| 17 | Стойка наклонная | 16Y-80-60000 | 2 | 2 | - | |
| 18 | Шарнир шаровой | 16Y-80-60001 | 2 | 2 | - | |
| 19 | Колпачок | 16Y-80-60004 | 2 | 2 | - | |
| 24 | Палец | 16Y-80-00020 | 4 | 4 | - | |
| 25 | Болт | 01010-51265 | 4 | 4 | - | |
| 26 | Гайка | 01598-01214 | 4 | 4 | - | |
| 27 | Стойка | 16Y-80-50000 | 1 | 1 | - | |
| 28 | Шарнир шаровой | 16Y-80-50006 | 1 | 1 | - | |
| 29 | Колпачок | 16Y-80-50007 | 1 | 1 | - | |
| 30 | Тяга | 16Y-80-51000 | 1 | 1 | - | |
| 31 | Стержень | 16Y-80-00005 | 1 | 1 | - | |
| 32 | Шайба 1,00 мм | 16Y-80-00010 | 8 | 8 | - | |
| 32A | Шайба 0,50 мм | 16Y-80-00009 | 8 | 8 | - | |
| 33 | Болт | 01010-51865 | 8 | 8 | - | |
| 34 | Шайба | 01643-31845 | 8 | 8 | - | |
| 35 | Пресс-масленка | 07020-01018 | 2 | 2 | - | |
| 36 | Гидроцилиндр наклона | 16Y-63-13000 | 1 | 1 | - | |
| 37 | Шайба 1,00 мм | 16Y-80-00010 | 8 | 8 | - | |
| 37A | Шайба 0,50 мм | 16Y-80-00009 | 3 | 3 | - | |
| 38 | Болт | 01010-51865 | 4 | 4 | - | |
| 39 | Шайба | 01643-21845 | 4 | 4 | - | |
| 40 | Цапфа левая | 16Y-80-10000 | 1 | 1 | - | |
| 41A | Цапфа правая | 16Y-80-20000 | 1 | 1 | - | |
| 42 | Болт | 01010-52045 | 16 | 16 | - | |
| 43 | Шайба | 01643-32060 | 16 | 16 | - | |
Обращаем Ваше внимание, что пункты отмеченные звездочкой, обязательны для заполнения.