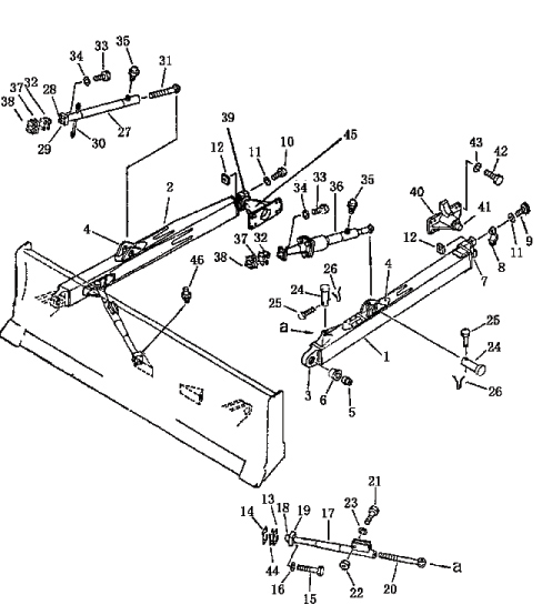
| ||||||
| № п/п | Наименование | Код детали | SD16 | SD16E | SD16L | |
| 1 | Тяга отвала левая | 16L-80-20000 | - | - | 1 | |
| 2 | Тяга отвала правая | 161-80-40000 | - | - | 1 | |
| 3 | Кронштейн | 16L--80-20007 | - | - | 1 | |
| 4 | Кронштейн | 16L-80-20009 | - | - | 2 | |
| 5 | Втулка | 16L-80-00009 | - | - | 2 | |
| 6 | Втулка | 16L-80-00007 | - | - | 2 | |
| 7 | Кронштейн | 16L-80-20001 | - | - | 1 | |
| 8 | Крышка подшипника | 16L-80-00003 | - | - | 1 | |
| 9 | Болт | 16L-80-00004 | - | - | 2 | |
| 10 | Болт | 16L-80-00014 | - | - | 2 | |
| 11 | Шайба | 01602-02472 | - | - | 4 | |
| 12 | Гайка | 16L-80-00027 | - | - | 4 | |
| 13 | Шайба 1,00 мм | 16L-80-00018 | - | - | 8 | |
| 14 | Шайба 0,50 мм | 16L-80-00017 | - | - | 12 | |
| 15 | Болт | 01010-52065 | - | - | 8 | |
| 16 | Шайба | 01010-02060 | - | - | 8 | |
| 17 | Стойка | 16L-80-60000 | - | - | 2 | |
| 18 | Шарнир шаровой | 16L-80-60001 | - | - | 2 | |
| 19 | Колпачок | 16Y-80-60004 | - | - | 2 | |
| 20 | Винт | 16L-80-00015 | - | - | 2 | |
| 21 | Болт | 01011-52000 | - | - | 2 | |
| 22 | Гайка | 01580-02016 | - | - | 2 | |
| 23 | Шайба | 01602-02060 | - | - | 2 | |
| 24 | Ось | 16L-80-00002 | - | - | 4 | |
| 25 | Палец | 16L-80-00005 | - | - | 4 | |
| 26 | Чека разводная | 04050-02016 | - | - | 4 | |
| 27 | Стойка наклонная | 16L-80-70000 | - | - | 1 | |
| 28 | Шарнир шаровой | 16Y-80-50006 | - | - | 1 | |
| 29 | Колпачок | 16Y-80-50007 | - | - | 1 | |
| 30 | Тяга | 16L-80-71000 | - | - | 1 | |
| 31 | Стержень | 16L-80-00022 | - | - | 1 | |
| 32 | Шайба 1,00 мм | 16L-80-00021 | - | - | 12 | |
| 33 | Болт | 01010-51865 | - | - | 8 | |
| 34 | Шайба | 01602-01854 | - | - | 8 | |
| 35 | Пресс-масленка | 07020-01018 | - | - | 2 | |
| 36 | Гидроцилиндр наклона | 16Y-63-13000 | - | - | 1 | |
| 37 | Шайба 0,20 мм | 16L-80-00019 | - | - | 8 | |
| 38 | Шайба 0,50 мм | 16L-80-00020 | - | - | 12 | |
| 39 | Крышка подшипника | 16L-80-00023 | - | - | 1 | |
| 40 | Цапфа левая | 16L-80-30000 | - | - | 1 | |
| 41 | Шарнир шаровой | 16Y-80-10002 | - | - | 1 | |
| 42 | Болт | 01010-52050 | - | - | 16 | |
| 43 | Шайба | 01602-02060 | - | - | 16 | |
| 44 | Шайба 0,10 мм | 16L-80-00016 | - | - | 12 | |
| 45 | Цапфа правая | 16L-80-50000 | - | - | 1 | |
| 46 | Пресс-масленка | 07020-01018 | - | - | 2 | |
Обращаем Ваше внимание, что пункты отмеченные звездочкой, обязательны для заполнения.