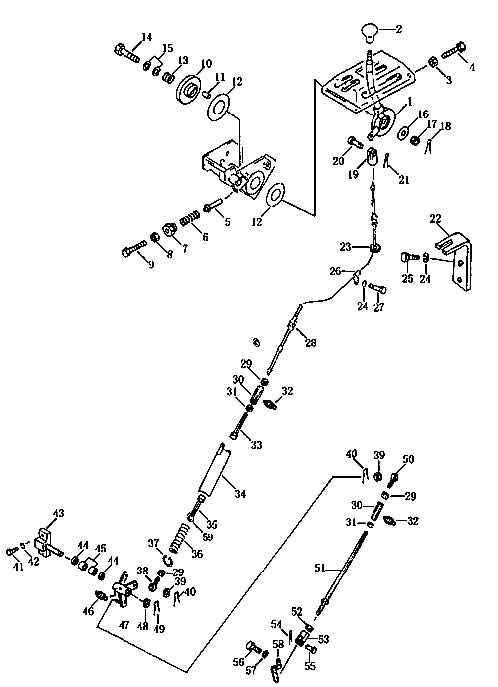
| ||||||
| № п/п | Наименование | Код детали | SD16 | SD16E | SD16L | |
| 1 | Рычаг | 10Y-05-02000 | 1 | 1 | 1 | |
| 2 | Кнопка | 09304-01250 | 1 | 1 | 1 | |
| 3 | Гайка | 01580-10806 | 1 | 1 | 1 | |
| 4 | Болт | 01016-50860 | 1 | 1 | 1 | |
| 5 | Палец | 154-43-44261 | 1 | 1 | 1 | |
| 6 | Пружина | 170-54-11230 | 1 | 1 | 1 | |
| 7 | Гайка колпачковая | 154-43-44250 | 1 | 1 | 1 | |
| 8 | Гайка | 01580-10806 | 1 | 1 | 1 | |
| 9 | Болт | 01016-50860 | 1 | 1 | 1 | |
| 10 | Диск | 154-43-14710 | 1 | 1 | 1 | |
| 11 | Палец | 04020-00616 | 2 | 2 | 2 | |
| 12 | Накладка фрикционная | 154-43-44280 | 2 | 2 | 2 | |
| 13 | Пружина | 154-43-14690 | 1 | 1 | 1 | |
| 14 | Болт | 01052-51265 | 1 | 1 | 1 | |
| 15 | Шайба | 01640-21223 | 1 | 1 | 1 | |
| 16 | Шайба | 101-43-11380 | 1 | 1 | 1 | |
| 17 | Гайка | 01593-11210 | 1 | 1 | 1 | |
| 18 | Чека разводная | 04050-13030 | 1 | 1 | 1 | |
| 19 | Вилка | 04210-20832 | 1 | 1 | 1 | |
| 20 | Палец | 04205-10822 | 1 | 1 | 1 | |
| 21 | Чека разводная | 04050-12015 | 1 | 1 | 1 | |
| 22 | Пластина | 16Y-05C-00001 | 1 | 1 | 1 | |
| 23 | Трубка | 08037-01610 | 1 | 1 | 1 | |
| 24 | Шайба | 01643-31032 | 5 | 5 | 5 | |
| 25 | Болт | 01010-51025 | 2 | 2 | 2 | |
| 26 | Хомут | 08035-01510 | 3 | 3 | 3 | |
| 27 | Болт | 01010-51016 | 3 | 3 | 3 | |
| 28 | Вал гибкий | 16Y-05C-01000 | 1 | 1 | 1 | |
| 29 | Гайка | 01580-10806 | 3 | 3 | 3 | |
| 30 | Гайка регулировочная | 16Y-05-00005 | 2 | 2 | 2 | |
| 31 | Гайка | 01508-20805 | 2 | 2 | 2 | |
| 32 | Пресс-масленка | 07020-00613 | 2 | 2 | 2 | |
| 33 | Рычаг | 16Y-05C-06000 | 1 | 1 | 1 | |
| 34 | Корпус пружины | 16Y-05-13000 | 1 | 1 | 1 | |
| 35 | Рычаг | 16Y-05C-07000 | 1 | 1 | 1 | |
| 36 | Пружина | 16Y-05-00009 | 1 | 1 | 1 | |
| 37 | Кольцо стопорное | 04065-30815 | 1 | 1 | 1 | |
| 38 | Подшипник соединительный | 04250-50847 | 1 | 1 | 1 | |
| 39 | Гайка | 01590-10809 | 2 | 2 | 2 | |
| 40 | Чека разводная | 04050-12016 | 2 | 2 | 2 | |
| 41 | Болт | 01010-51240 | 2 | 2 | 2 | |
| 42 | Шайба | 01643-31232 | 2 | 2 | 2 | |
| 43 | Кронштейн | 16Y-05C-04000 | 1 | 1 | 1 | |
| 44 | Кольцо пылезащитное | 06122-01603 | 2 | 2 | 2 | |
| 45 | Подшипник игольчатый | HK162212 | 2 | 2 | 2 | |
| 46 | Пресс-масленка | 07020-01816 | 1 | 1 | 1 | |
| 47 | Рычаг поворотный | 16Y-05C-02000 | 1 | 1 | 1 | |
| 48 | Шайба | 01643-31645 | 1 | 1 | 1 | |
| 49 | Чека разводная | 04050-14024 | 1 | 1 | 1 | |
| 50 | Подшипник соединительный | 04250-50847 | 1 | 1 | 1 | |
| 51 | Рычаг | 16Y-05C-03000 | 1 | 1 | 1 | |
| 52 | Гайка | 01580-10605 | 1 | 1 | 1 | |
| 53 | Вилка | 04211-20634 | 1 | 1 | 1 | |
| 54 | Чека разводная | 04050-12010 | 1 | 1 | 1 | |
| 55 | Палец | 04205-10618 | 1 | 1 | 1 | |
| 56 | Болт | 01010-50616 | 2 | 2 | 2 | |
| 57 | Шайба | 01643-30623 | 2 | 2 | 2 | |
| 58 | Пластина | 16Y-05C-00002 | 1 | 1 | 1 | |
| 59 | Шайба | 01643-31645 | 2 | 2 | 2 | |
Обращаем Ваше внимание, что пункты отмеченные звездочкой, обязательны для заполнения.