| ||||||
| № п/п | Наименование | Код детали | SD16 | SD16E | SD16L | |
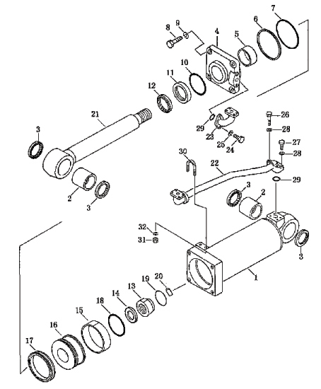
| 0 | Гидроцилиндр рыхлителя в сборе | 16Y-84-60000 | 1 | 1 | - | |
| 1 | Гидроцилиндр | 16Y-84-62000 | 1 | 1 | - | |
| 1 | Корпус гидроцилиндра | 16Y-84-62100 | 1 | 1 | - | |
| 2 | Втулка | 07143-10707 | 2 | 2 | - | |
| 3 | Кольцо пылезащитное | 07145-00075 | 4 | 4 | - | |
| 4 | Втулка направляющая | 16Y-84-62004 | 1 | 1 | - | |
| 5 | Кольцо опорное | 16Y-84-62005 | 1 | 1 | - | |
| 6 | Кольцо защитное | 07146-05152 | 1 | 1 | - | |
| 7 | Кольцо круглого сечения | 07000-05150 | 1 | 1 | - | |
| 8 | Болт | 01010-52770 | 4 | 4 | - | |
| 9 | Шайба | 01643-32780 | 4 | 4 | - | |
| 10 | Сальник | 16Y-84-62400 | 1 | 1 | - | |
| 11 | Уплотнение | 16Y-84-62006 | 1 | 1 | - | |
| 12 | Сальник пылезащитный | 16Y-84-62007 | 1 | 1 | - | |
| 13 | Гайка | 16Y-84-62001 | 1 | 1 | - | |
| 14 | Шайба | 16Y-84-62003 | 1 | 1 | - | |
| 15 | Втулка направляющая | 16Y-63-13008 | 2 | 2 | - | |
| 16 | Поршень | 16Y-84-62002 | 1 | 1 | - | |
| 17 | Кольцо | 16Y-63-13500 | 1 | 1 | - | |
| 18 | Кольцо круглого сечения | 07000-12055 | 1 | 1 | - | |
| 19 | Проволока | 04059-01025 | 1 | 1 | - | |
| 20 | Винт | 01322-30820 | 1 | 1 | - | |
| 21 | Шток поршня | 16Y-84-62200 | 1 | 1 | - | |
| 22 | Трубка | 16Y-84-61000 | 1 | 1 | - | |
| 23 | Фланец | 16Y-84-63000 | 1 | 1 | - | |
| 24 | Болт | 01010-51435 | 2 | 2 | - | |
| 25 | Шайба | 01602-21442 | 2 | 2 | - | |
| 26 | Болт | 01010-50850 | 2 | 2 | - | |
| 27 | Болт | 01010-50840 | 2 | 2 | - | |
| 28 | Шайба | 01601-20825 | 4 | 4 | - | |
| 29 | Кольцо круглого сечения | 07000-13030 | 2 | 2 | - | |
| 30 | Хомут | 07283-22738 | 1 | 1 | - | |
| 31 | Гайка стопорная | 01598-11011 | 2 | 2 | - | |
| 32 | Шайба | 01640-21016 | 2 | 2 | - | |
Обращаем Ваше внимание, что пункты отмеченные звездочкой, обязательны для заполнения.