| ||||||
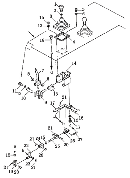
| № п/п | Наименование | Код детали | SD16 | SD16E | SD16L | |
| 1 | Рычаг | 195-61-45150 | 1 | 1 | 1 | |
| 2 | Гайка | 195-43-44220 | 1 | 1 | 1 | |
| 3 | Кожух | 195-61-4514-0 | 1 | 1 | 1 | |
| 4 | Основание | 16Y-86C-00005 | 1 | 1 | 1 | |
| 5 | Винт | 01220-40508 | 4 | 4 | 4 | |
| 6 | Шайба | 01601-20513 | 4 | 4 | 4 | |
| 7 | Рычаг | 16Y-86C-09000 | 1 | 1 | 1 | |
| 8 | Подшипник | 195-61-34130 | 2 | 2 | 2 | |
| 9 | Вилка | 195-61-45180 | 1 | 1 | 1 | |
| 10 | Ось | 195-61-45170 | 1 | 1 | 1 | |
| 11 | Болт | 01010-50816 | 4 | 4 | 4 | |
| 12 | Шайба | 01643-30823 | 8 | 8 | 8 | |
| 13 | Подшипник | 195-61-45440 | 2 | 2 | 2 | |
| 14 | Кронштейн | 16Y-86C-07000 | 1 | 1 | 1 | |
| 15 | Гайка | 01580-10806 | 4 | 4 | 4 | |
| 16 | Ось | 16Y-86C-00004 | 1 | 1 | 1 | |
| 17 | Кронштейн | 16Y-86C-06000 | 1 | 1 | 1 | |
| 18 | Кнопка | 195-61-45211 | 1 | 1 | 1 | |
| 19 | Вилка | 16Y-86C-00003 | 1 | 1 | 1 | |
| 20 | Палец | 04205-10822 | 3 | 3 | 3 | |
| 21 | Чека разводная | 04050-12016 | 5 | 5 | 5 | |
| 22 | Рычаг | 195-61-45260 | 1 | 1 | 1 | |
| 23 | Шайба | 01641-20812 | 1 | 1 | 1 | |
| 24 | Вилка | 04210-20832 | 1 | 1 | 1 | |
| 25 | Тяга в сборе | 04244-40805 | 1 | 1 | 1 | |
| 26 | Блок стопорный | 16Y-86C-08000 | 1 | 1 | 1 | |
| 27 | Пружина | 195-61-45290 | 1 | 1 | 1 | |
Обращаем Ваше внимание, что пункты отмеченные звездочкой, обязательны для заполнения.