| ||||||
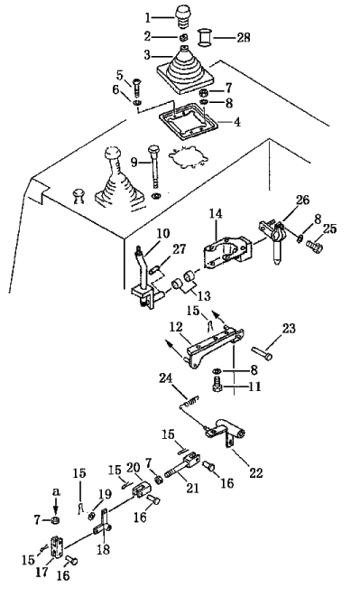
| № п/п | Наименование | Код детали | SD16 | SD16E | SD16L | |
| 1 | Рычаг | 195-78-75110 | 1 | 1 | 1 | |
| 2 | Гайка | 195-43-44220 | 1 | 1 | 1 | |
| 3 | Кожух | 195-61-45140 | 1 | 1 | 1 | |
| 4 | Основание | 195-61-45130 | 1 | 1 | 1 | |
| 5 | Винт | 01220-40508 | 4 | 4 | 4 | |
| 6 | Шайба | 01601-20513 | 4 | 4 | 4 | |
| 7 | Гайка | 01580-10806 | 6 | 6 | 6 | |
| 8 | Шайба | 01643-30823 | 11 | 11 | 11 | |
| 9 | Кнопка | 16Y-87С-01000 | 1 | 1 | 1 | |
| 10 | Рычаг | 16Y-87C-05000 | 1 | 1 | 1 | |
| 11 | Болт | 01010-50816 | 4 | 4 | 4 | |
| 12 | Кронштейн | 16Y-87C-06000 | 1 | 1 | 1 | |
| 13 | Подшипник | 195-61-45440 | 2 | 2 | 2 | |
| 14 | Кронштейн | 16Y-87C-04000 | 1 | 1 | 1 | |
| 15 | Палец | 04050-12016 | 5 | 5 | 5 | |
| 16 | Палец | 04205-10822 | 2 | 2 | 2 | |
| 17 | Вилка | 04210-20844 | 1 | 1 | 1 | |
| 18 | Рычаг | 16Y-87C-09000 | 1 | 1 | 1 | |
| 19 | Шайба | 01641-20812 | 1 | 1 | 1 | |
| 20 | Вилка | 04210-20832 | 1 | 1 | 1 | |
| 21 | Тяга в сборе | 04244-40816 | 1 | 1 | 1 | |
| 22 | Блок стопорный | 16Y-87C-07000 | 1 | 1 | 1 | |
| 23 | Ось | 16Y-87C-00002 | 1 | 1 | 1 | |
| 24 | Пружина | 195-61-45290 | 1 | 1 | 1 | |
| 25 | Болт | 01010-80830 | 2 | 2 | 2 | |
| 26 | Рычаг | 16Y-87C-02000 | 1 | 1 | 1 | |
| 27 | Шпонка | 04010-00519 | 1 | 1 | 1 | |
| 28 | Втулка | 16Y-96C-00006 | 1 | 1 | 1 | |
Обращаем Ваше внимание, что пункты отмеченные звездочкой, обязательны для заполнения.