| ||||||
| № п/п | Наименование | Код детали | SD16 | SD16E | SD16L | |
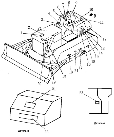
| 1 | Шильдик | 09650-01101-DY | 1 | 1 | 1 | |
| 2 | Шильдик | 09668-00100-DY | 1 | 1 | 1 | |
| 3 | Шильдик | 09173-00100-DY | 1 | 1 | 1 | |
| 4 | Шильдик | 09654-00100-DY | 1 | 1 | 1 | |
| 5 | Шильдик | 09685-00004 | 1 | 1 | 1 | |
| 6 | Шильдик | 09670-00001 | 1 | 1 | 1 | |
| 7 | Шильдик | 09685-00003 | 1 | 1 | 1 | |
| 8 | Шильдик | 09653-00100-DY | 1 | 1 | 1 | |
| 9 | Шильдик | 09655-01120-DY | 1 | 1 | 1 | |
| 10 | Шильдик | 09656-90080 | 1 | 1 | 1 | |
| 11 | Шильдик | 09652-01100-DY | 1 | 1 | 1 | |
| 12 | Логотип SHANTUI | 14Y-90-00004 | 2 | 2 | 2 | |
| 13 | Заклепка | 04418-00306 | 8 | 8 | 8 | |
| 14 | Таблица смазки | 16Y-90C-00001 | 1 | 1 | 1 | |
| 15 | Таблица смазки (на английском языке) | 16Y-90C-00002 | 1 | 1 | 1 | |
| 16 | Шильдик | 16Y-90C-00003 | 1 | 1 | 1 | |
| 17 | Шильдик | 09960-01012 | 1 | 1 | 1 | |
| 18 | Шильдик | 09960-01001 | 1 | 1 | 1 | |
| 19 | Шильдик | 17Y-90A-00001 | 1 | 1 | 1 | |
| 20 | Шильдик | 09961-00100 | 1 | 1 | 1 | |
| 21 | Логотип SHANTUI | 10Y-90B-00002 | 1 | 1 | 1 | |
| 22 | Шильдик | 16Y-90C-00005 | 1 | 1 | 1 | |
| 23 | Шильдик | 09685-00002 | 1 | 1 | 1 | |
| 24 | Шильдик | 16Y-90-00009 | 1 | 1 | 1 | |
Обращаем Ваше внимание, что пункты отмеченные звездочкой, обязательны для заполнения.