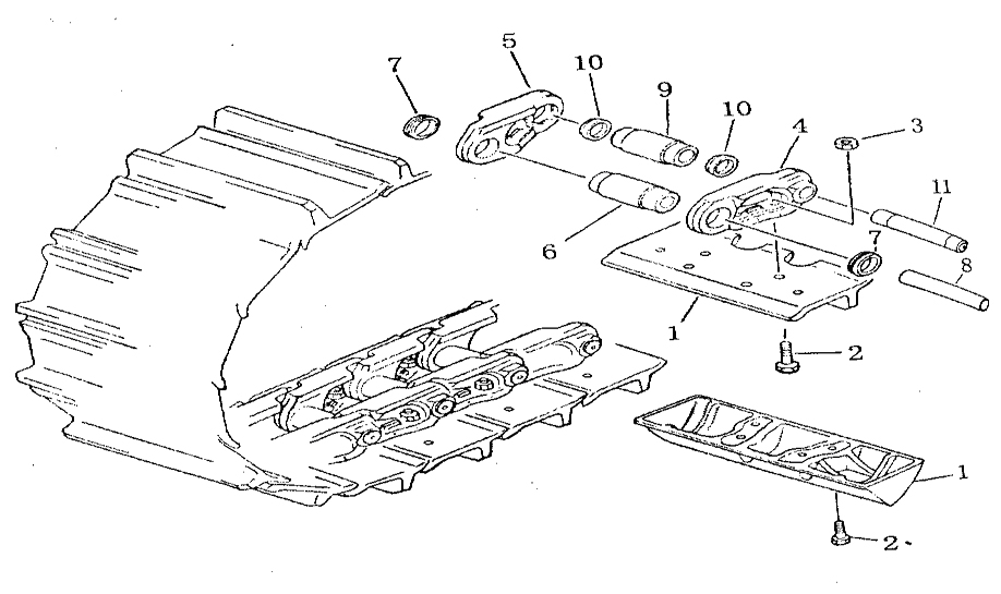
| ||||||
| № п/п | Наименование | Код детали | SD22 | SD22E | SD22D | SD22S |
| 0 | Гусеничная лента | 154-32-11006 | 1 | 1 | 1 | 1 |
| 1 | Грунтозацеп | 154-32-11113 | 76 | 82 | 82 | - |
| 1 | Грунтозацеп | 158-41-00001 | - | - | - | 90 |
| 2 | Болт гусеничного трака | 154-32-11230 | 304 | 328 | 328 | - |
| 2 | Болт гусеничного трака | 158-41-00002 | - | - | - | 360 |
| 3 | Гайка гусеничного трака | 01803-02026 | 304 | 328 | 328 | 360 |
| 4 | Звено гусеницы (левое) | 154-32-11127 | 76 | 82 | 82 | 90 |
| 5 | Звено гусеницы (правое) | 154-32-11137 | 76 | 82 | 82 | 90 |
| 6 | Распорная втулка | 154-32-31140 | 72 | 82 | 82 | 86 |
| 7 | Пылеулавливающее герметичное кольцо | 154-32-11283 | 144 | 156 | 156 | 172 |
| 8 | Палец гусеницы | 154-32-11152 | 72 | 78 | 78 | 86 |
| 9 | Главная распорная втулка | 154-32-31170 | 4 | 4 | 4 | 4 |
| 10 | Пылеулавливающее герметичное кольцо | 154-32-11260 | 8 | 8 | 8 | 8 |
| 11 | Главный палец гусеницы | 154-32-11193 | 4 | 4 | 4 | 4 |
Обращаем Ваше внимание, что пункты отмеченные звездочкой, обязательны для заполнения.