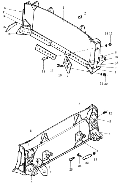
| ||||||
| № п/п | Наименование | Код детали | SD32 | |||
| 1 | прямой отвал с гидроперекосом | 175-71-31000 | 1 | |||
| 2 | кронштейн (сварной) | 175-71-27842 | 2 | |||
| 3 | кронштейн левый (сварной) | 175-71-31121 | 1 | |||
| 4 | кронштейн правый (сварной) | 175-71-31131 | 1 | |||
| 5 | штифт (сварной) | 175-71-31141 | 2 | |||
| 6 | пластина (сварная) | 175-71-31631 | 2 | |||
| 6A | пластина (сварная) | 175-71-31641 | 2 | |||
| 7 | пластина левая (сварная) | 175-71-22121 | 1 | |||
| 8 | пластина правая (сварная) | 175-71-22131 | 1 | |||
| 9 | пластина стопорная, левая (сварная) | 175-71-22340 | 2 | |||
| 10 | пластина левая (сварная) | 175-71-22350 | 1 | |||
| 11 | пластина правая (сварная) | 175-71-22360 | 1 | |||
| 12 | масленка | 07020-01018 | 4 | |||
| 13 | режущая кромка средняя | 175-70-26310 | 3 | |||
| 14 | болт | 175-71-11454 | 21 | |||
| 15 | гайка | 175-71-11530 | 21 | |||
| 16 | шайба | 01643-22245 | 21 | |||
| 17 | резец левый | 175-71-22272 | 1 | |||
| 18 | резец правый | 175-71-22282 | 1 | |||
| 19 | болт | 175-71-11463 | 14 | |||
| 20 | гайка | 175-71-11530 | 14 | |||
| 21 | шайба | 01643-22245 | 14 | |||
| 22 | вал | 175-71-11351 | 2 | |||
| 23 | масленка | 07020-01018 | 2 | |||
| 24 | штифт | 195-71-11520 | 2 | |||
| 25 | болт | 01010-51435 | 2 | |||
Обращаем Ваше внимание, что пункты отмеченные звездочкой, обязательны для заполнения.