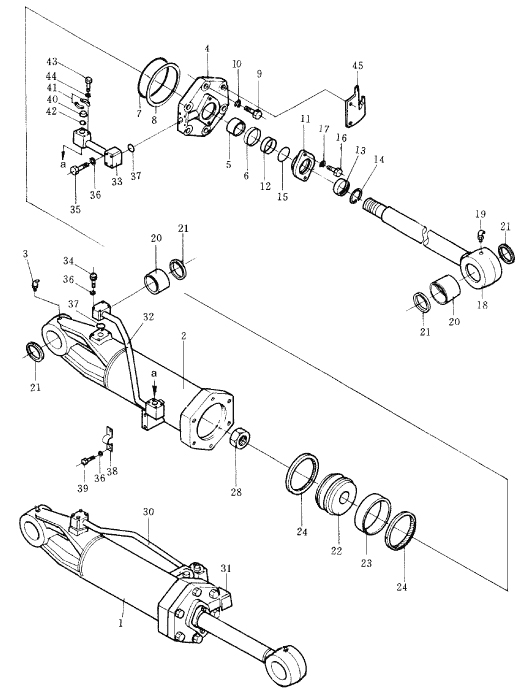
| ||||||
| № п/п | Наименование | Код детали | SD32 | |||
| 0 | левый цилиндр наклона однозубого рыхлителя в сборе | 175-63-43700 | 1 | |||
| 0 | правый цилиндр наклона однозубого рыхлителя в сборе | 175-63-43800 | 1 | |||
| 1 | цилиндр левый | 175-63-43142 | 1 | |||
| 2 | цилиндр правый | 175-63-43242 | 1 | |||
| 3 | масленка | 07021-01060 | 1 | |||
| 4 | главный цилиндр | 195-63-42133 | 1 | |||
| 5 | проставка | 07177-09035 | 1 | |||
| 6 | уплотнение штока | 707-51-90110 | 1 | |||
| 7 | кольцо уплотнительное | 07000-15220 | 1 | |||
| 8 | пружинное кольцо | 07001-05220 | 1 | |||
| 9 | болт | 01050-53095 | 6 | |||
| 10 | шайба пружинная | 01602-23075 | 6 | |||
| 11 | уплотнение | 195-63-52470 | 1 | |||
| 12 | проставка | 07177-09020 | 1 | |||
| 13 | пыльник | 195-63-94170 | 1 | |||
| 14 | пружинное кольцо | 07179-00113 | 1 | |||
| 15 | кольцо уплотнительное | 07000-03110 | 1 | |||
| 16 | болт | 01010-51865 | 2 | |||
| 17 | шайба пружинная | 01602-21854 | 2 | |||
| 18 | поршневой шток | 175-63-43121 | 1 | |||
| 19 | масленка | 07021-01060 | 1 | |||
| 20 | проставка | 07144-11110 | 2 | |||
| 21 | пыльник | 07145-10110 | 4 | |||
| 22 | поршень | 707-36-22550 | 1 | |||
| 23 | кольцевой поршень | 07155-02250 | 1 | |||
| 24 | уплотнение поршня | 707-44-22080 | 2 | |||
| 28 | гайка с нейлоновой вставкой | 175-63-52432 | 1 | |||
| 30 | трубка левая | 175-63-43171 | 1 | |||
| 31 | трубка левая | 175-63-43271 | 1 | |||
| 32 | трубка правая | 175-63-43181 | 1 | |||
| 33 | трубка правая | 175-63-43281 | 1 | |||
| 34 | болт | 01010-51080 | 4 | |||
| 35 | болт | 01010-51065 | 4 | |||
| 36 | шайба пружинная | 01602-21030 | 10 | |||
| 37 | кольцо уплотнительное | 07000-13038 | 2 | |||
| 38 | скоба крепежная | 07282-03411 | 1 | |||
| 39 | болт | 01010-51020 | 2 | |||
| 40 | крышка | 07378-11000 | 2 | |||
| 41 | реборда | 07371-31044 | 4 | |||
| 42 | кольцо уплотнительное | 07000-13032 | 2 | |||
| 43 | болт | 01010-51030 | 8 | |||
| 44 | кронштейн | 01602-21030 | 8 | |||
Обращаем Ваше внимание, что пункты отмеченные звездочкой, обязательны для заполнения.