| ||||||
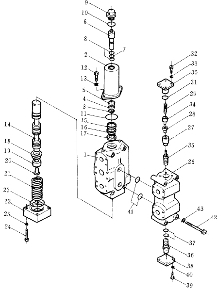
| № п/п | Наименование | Код детали | SD32 | |||
| 0 | клапан в сборе | 700-61-13006 | 1 | |||
| 1 | корпус клапана | 700-61-33111 | 1 | |||
| 2 | корпус | 700-61-33410 | 1 | |||
| 3 | пружинное кольцо | 700-61-33450 | 1 | |||
| 4 | прокладка | 700-61-33440 | 1 | |||
| 5 | пыльник | 07016-00226 | 1 | |||
| 6 | шток клапана | 700-61-33430 | 1 | |||
| 7 | кольцо уплотнительное | 07000-02018 | 1 | |||
| 8 | упорное кольцо | 07001-02018 | 2 | |||
| 9 | пробка | 700-61-33420 | 1 | |||
| 10 | кольцо уплотнительное | 07002-03634 | 1 | |||
| 11 | кольцо уплотнительное | 07000-02065 | 1 | |||
| 12 | болт | 01010-51235 | 2 | |||
| 13 | шайба пружинная | 01602-21236 | 2 | |||
| 14 | катушка | 700-16-33460 | 1 | |||
| 15 | пыльник | 07016-00407 | 1 | |||
| 16 | манжета | 700-52-31310 | 1 | |||
| 17 | U-уплотнение | 07006-00040 | 1 | |||
| 18 | фиксатор | 700-61-33470 | 1 | |||
| 19 | манжета | 700-61-33510 | 1 | |||
| 20 | пробка | 700-61-33520 | 1 | |||
| 21 | пружина | 700-61-33481 | 4 | |||
| 22 | крышка | 700-61-33490 | 1 | |||
| 23 | кольцо уплотнительное | 07000-02070 | 1 | |||
| 24 | болт | 01010-51060 | 4 | |||
| 25 | шайба пружинная | 01602-21030 | 4 | |||
| 26 | корпус клапана | 700-61-34111 | 1 | |||
| 27 | проверочный клапан | 700-61-34220 | 1 | |||
| 28 | проверочный клапан | 700-61-34340 | 1 | |||
| 29 | пружина | 700-61-34230 | 1 | |||
| 30 | пробка | 700-61-34141 | 1 | |||
| 32 | болт | 01010-51030 | 4 | |||
| 33 | шайба пружинная | 01602-21030 | 4 | |||
| 34 | стопор | 700-61-34510 | 1 | |||
| 35 | направляющий поршневой штифт | 700-61-34330 | 1 | |||
| 36 | пробка | 700-61-34320 | 1 | |||
| 37 | кольцо уплотнительное | 07000-12021 | 2 | |||
| 38 | пластина | 700-61-34310 | 1 | |||
| 39 | болт | 01010-51030 | 4 | |||
| 40 | шайба пружинная | 01602-21030 | 4 | |||
| 41 | кольцо уплотнительное | 07000-13035 | 2 | |||
| 42 | болт | 01011-51000 | 4 | |||
| 43 | шайба пружинная | 01602-21030 | 4 | |||
Обращаем Ваше внимание, что пункты отмеченные звездочкой, обязательны для заполнения.