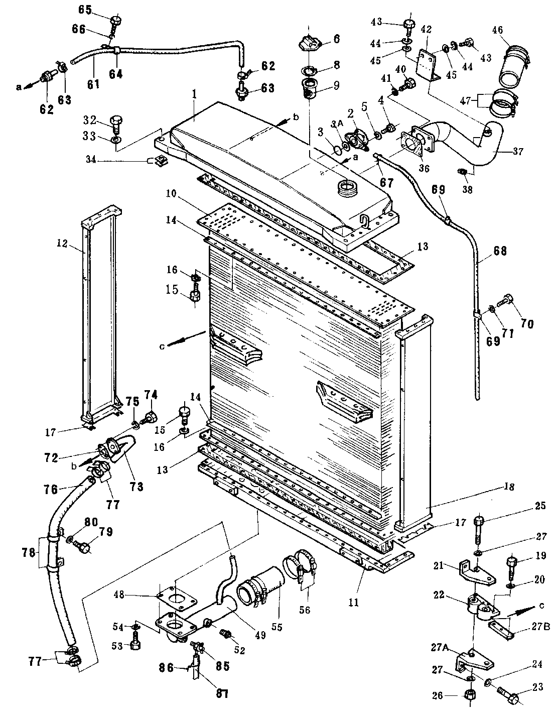
| ||||||
| № п/п | Наименование | Код детали | SD32 | |||
| 0 | Радиатор типа D в сборе | 175-03-C1002 | 1 | |||
| 1 | Бачок верхний | 175-03-C1111 | 1 | |||
| 2 | Клапан давления | 154-03-11682 | 1 | |||
| 3 | Кольцо уплотнительное | 07000-03045 | 1 | |||
| 3A | Сетчатый фильтр | 175-03-32570 | 1 | |||
| 4 | Болт | 01010-51025 | 2 | |||
| 5 | Шайба пружинная | 01602-21030 | 2 | |||
| 6 | Крышка заливной горловины | 07053-10000 | 1 | |||
| 8 | Кольцо пружинное | 07057-03271 | 1 | |||
| 9 | Сетчатый фильтр | 07056-00048 | 1 | |||
| 10 | Теплообменник радиатора | 175-03-32261 | 1 | |||
| 11 | Бачок нижний | 175-03-31133 | 1 | |||
| 12 | Щиток левый | 175-03-32930 | 1 | |||
| 13 | Прокладка | 175-03-31153 | 2 | |||
| 14 | Пластина | 175-03-31181 | 4 | |||
| 15 | Болт | 01010-51030 | 100 | |||
| 16 | Шайба пружинная | 01602-21030 | 100 | |||
| 17 | Пластина | 175-03-32290 | 4 | |||
| 18 | Щиток правый | 175-03-32940 | 1 | |||
| 19 | Болт | 01010-51075 | 6 | |||
| 20 | Шайба | 01643-31032 | 6 | |||
| 21 | Кронштейн | 175-03-32961 | 2 | |||
| 22 | Амортизатор в сборе | 195-03-22401 | 2 | |||
| 23 | Болт | 01010-51225 | 8 | |||
| 24 | Шайба | 01643-31232 | 8 | |||
| 25 | Болт | 01091-52290 | 4 | |||
| 26 | Гайка | 01582-12218 | 4 | |||
| 27 | Шайба | 01643-32260 | 16 | |||
| 27A | Кронштейн | 175-03-32951 | 2 | |||
| 27B | Пластина | 198-03-21530 | 2 | |||
| 32 | Болт | 01011-51835 | 4 | |||
| 33 | Сальник | 175-03-32650 | 4 | |||
| 34 | Проставка | 195-03-11570 | 8 | |||
| 36 | Прокладка | 195-03-11340 | 1 | |||
| 37 | Рукав подводящий | 175-03-C1320 | 1 | |||
| 38 | Пробка | 07042-20108 | 1 | |||
| 40 | Болт | 01010-51230 | 4 | |||
| 41 | Шайба пружинная | 01602-21236 | 4 | |||
| 42 | Кронштейн | 175-03-C1340 | 1 | |||
| 43 | Болт | 01010-51225 | 3 | |||
| 44 | Шайба пружинная | 01602-21236 | 3 | |||
| 45 | Шайба | 01643-31232 | 3 | |||
| 46 | Шланг | 175-03-C1330 | 1 | |||
| 47 | Хомут | 07280-07249 | 4 | |||
| 48 | Прокладка | 195-03-11361 | 1 | |||
| 49 | Трубка | 175-03-C1350 | 1 | |||
| 52 | Пробка | 07042-00415 | 1 | |||
| 53 | Болт | 01010-51235 | 4 | |||
| 54 | Шайба пружинная | 01602-21236 | 4 | |||
| 55 | Шланг | 175-03-C1380 | 1 | |||
| 56 | Хомут шланга | 07280-08029 | 4 | |||
| 61 | Шланг | 175-03-C1420 | 1 | |||
| 62 | Штуцер | 195-03-11530 | 2 | |||
| 63 | Хомут | 07281-00197 | 2 | |||
| 64 | Скоба крепежная | 195-03-11580 | 1 | |||
| 65 | Болт | 01010-51020 | 1 | |||
| 66 | Шайба | 01643-31032 | 1 | |||
| 67 | Электропровод | 04059-01010 | 1 | |||
| 68 | Шланг | 195-03-13131 | 1 | |||
| 69 | Скоба переливной трубки крепежная | 195-03-11690 | 2 | |||
| 70 | Болт | 01010-51220 | 2 | |||
| 71 | Шайба | 01643-31232 | 2 | |||
| 72 | Прокладка | 195-03-11980 | 1 | |||
| 73 | Трубка | 175-03-C1121 | 1 | |||
| 74 | Болт | 01010-51030 | 2 | |||
| 75 | Шайба пружинная | 01602-21030 | 2 | |||
| 76 | Шланг | 175-03-C1360 | 1 | |||
| 77 | Хомут шланга | 07280-03826 | 4 | |||
| 78 | Скоба крепежная | 175-03-C1370 | 2 | |||
| 79 | Болт | 01010-51225 | 2 | |||
| 80 | Шайба | 01643-31232 | 2 | |||
| 85 | Кран сливной | 195-03-13241 | 1 | |||
| 86 | Проволока | 04059-01010 | 1 | |||
| 87 | Шланг сливной | 175-03-31530 | 1 | |||
Обращаем Ваше внимание, что пункты отмеченные звездочкой, обязательны для заполнения.