| ||||||
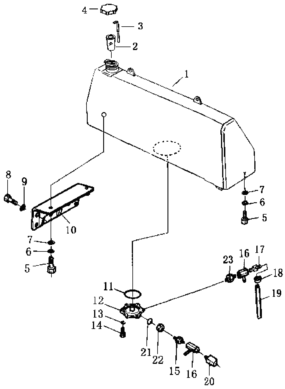
| № п/п | Наименование | Код детали | SD32 | |||
| 1 | Топливный Бак | 171-04-01000 | 1 | |||
| 2 | Сетчатый фильтр | 07056-18416 | 1 | |||
| 3 | Щуп | 171-04-00001 | 1 | |||
| 4 | Крышка заливной горловины топливного бака | 16Y-04C-02000 | 1 | |||
| 5 | Болт | 01010-52470 | 6 | |||
| 6 | Шайба | 01643-32460 | 6 | |||
| 7 | Шайба | 01602-22472 | 6 | |||
| 8 | Болт | 01010-52065 | 6 | |||
| 9 | Шайба | 01643-32060 | 6 | |||
| 10 | Кронштейн | 24Y-04-20000 | 1 | |||
| 11 | Кольцо уплотнительное | 07000-05150 | 1 | |||
| 12 | Фланец | 24Y-04-00007 | 1 | |||
| 13 | Шайба | 01602-21236 | 6 | |||
| 14 | Болт | 01010-51230 | 6 | |||
| 15 | Штуцер | 24Y-04-00008 | 1 | |||
| 16 | Кран | 07700-40460 | 2 | |||
| 17 | Штуцер | 24Y-04-00004 | 1 | |||
| 18 | Хомут | 07280-01210 | 1 | |||
| 19 | Трубка | 07270-01265 | 1 | |||
| 20 | Угольник | 24Y-04-00009 | 1 | |||
| 21 | Кольцо уплотнительное | 07002-02434 | 1 | |||
| 22 | Гайка | 07239-12410 | 1 | |||
| 23 | Штуцер | 24Y-04-00005 | 1 | |||
Обращаем Ваше внимание, что пункты отмеченные звездочкой, обязательны для заполнения.