| ||||||
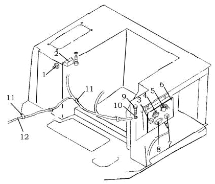
| № п/п | Наименование | Код детали | SD32 | |||
| 1 | Кнопка звукового сигнала- | 08035-02512 | 1 | |||
| 2 | Реле звукового сигнала | D2650-01100 | 1 | |||
| 3 | Реле | D2660-02000 | 1 | |||
| 4 | Защитное реле | 3006300 | 1 | |||
| 5 | Пусковое реле | 216537 | 1 | |||
| 6 | Панель | 171-07-08000 | 1 | |||
| 7 | Блок предохранителей | D2762-00100 | 1 | |||
| 8 | Блок предохранителей | D2763-00900 | 1 | |||
| 9 | Болт | 01010-51016 | 6 | |||
| 10 | Проставка | 01643-31032 | 6 | |||
| 11 | Скоба крепежная | 08035-02512 | 6 | |||
| 12 | Электропровод | 171-07-02000 | 1 | |||
Обращаем Ваше внимание, что пункты отмеченные звездочкой, обязательны для заполнения.