| ||||||
| № п/п | Наименование | Код детали | SD32 | |||
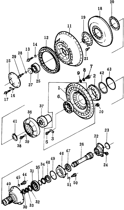
| 0 | Гидротрансформатор в сборе | 175-13-21007 | 1 | |||
| 1 | Насосное колесо | 175-13-21124 | 1 | |||
| 2 | Шестерня | 175-13-21141 | 1 | |||
| 3 | Шайба | 01643-31032 | 12 | |||
| 5 | Болт | 01010-51035 | 12 | |||
| 6 | Подшипник | 175-13-21160 | 1 | |||
| 7 | Болт | 01010-61035 | 30 | |||
| 8 | Шайба пружинная | 01602-21030 | 30 | |||
| 9 | Шайба | 01643-31032 | 30 | |||
| 10 | Пробка | 07040-11007 | 2 | |||
| 11 | Корпус | 175-13-21213 | 1 | |||
| 12 | Шестерня | 175-13-21220 | 1 | |||
| 13 | Болт | 01010-61230 | 24 | |||
| 14 | Шайба | 01643-21232 | 24 | |||
| 15 | Крышка | 175-13-21253 | 1 | |||
| 16 | Прокладка | 195-13-11261 | 4 | |||
| 17 | Болт | 01010-51230 | 8 | |||
| 18 | Турбина | 175-13-21513 | 1 | |||
| 18 | Турбинное колесо | 175-13-21552 | 1 | |||
| 19 | Втулка | 175-13-21532 | 1 | |||
| 20 | Пластина | 175-13-21540 | 1 | |||
| 21 | Заклепка | 195-13-11550 | 18 | |||
| 22 | Муфта соединительная | 175-13-21641 | 1 | |||
| 22 | Муфта соединительная | 175-13-21662 | 1 | |||
| 23 | Крышка | 175-13-11671 | 1 | |||
| 24 | Тавотница | 07020-00613 | 1 | |||
| 25 | Подшипник | 175-13-21240 | 1 | |||
| 26 | Вал | 175-13-21654 | 1 | |||
| 27 | Кольцо пружинное | 175-13-21692 | 1 | |||
| 28 | Прокладка | 175-13-21712 | 1 | |||
| 29 | Призонный болт | 175-13-11810 | 2 | |||
| 30 | Кольцо уплотнительное | 178-13-11720 | 1 | |||
| 31 | Подшипник | 06040-06313 | 1 | |||
| 32 | Шайба | 175-13-21770 | 1 | |||
| 33 | Кольцо пружинное | 04064-06525 | 1 | |||
| 34 | Подкладка | 175-13-21750 | 1 | |||
| 35 | Кольцо уплотнительное | 07000-35055 | 1 | |||
| 36 | Колесо реактора | 175-13-22313 | 1 | |||
| 37 | Обойма подшипника | 175-13-22122 | 1 | |||
| 38 | Болт | 01010-51030 | 12 | |||
| 39 | Шайба | 01643-31032 | 12 | |||
| 40 | Вал | 175-13-22524 | 1 | |||
| 41 | Кольцо пружинное | 04064-08530 | 1 | |||
| 42 | Кольцо уплотнительное | 195-13-12711 | 1 | |||
| 43 | Кольцо уплотнительное | 07000-65190 | 1 | |||
| 44 | Болт | 01010-51235 | 6 | |||
| 45 | Шайба пружинная | 01602-21236 | 6 | |||
| 46 | Крышка | 175-13-22721 | 1 | |||
| 47 | Уплотнение | 175-13-22730 | 1 | |||
| 48 | Сальник | 07011-10080 | 1 | |||
| 49 | Кольцо уплотнительное | 07000-65135 | 1 | |||
| 50 | Болт | 01010-51230 | 6 | |||
| 51 | Шайба пружинная | 01010-21236 | 6 | |||
Обращаем Ваше внимание, что пункты отмеченные звездочкой, обязательны для заполнения.