| ||||||
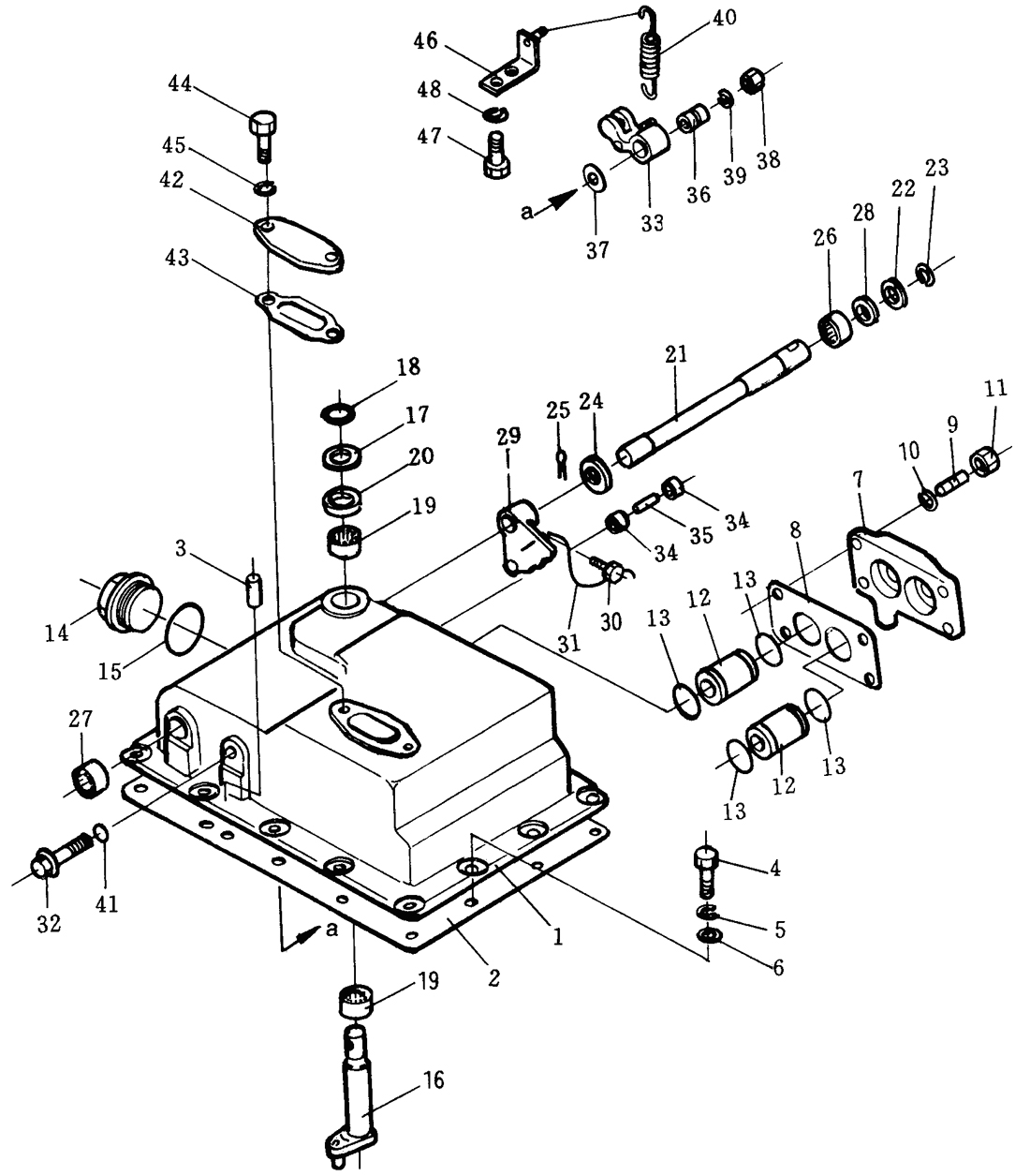
| № п/п | Наименование | Код детали | SD32 | |||
| 0 | Коробка передач крутящего момента в сборе | 175-15-00216 | 1 | |||
| 0 | Распределитель в сборе | 155-15-00370 | 1 | |||
| 1 | Крышка | 175-15-45510 | 1 | |||
| 2 | Прокладка | 175-15-45520 | 1 | |||
| 3 | Штифт | 04020-00820 | 2 | |||
| 4 | Болт | 01010-51025 | 14 | |||
| 5 | Шайба пружинная | 01602-21030 | 14 | |||
| 6 | Шайба | 01640-21016 | 14 | |||
| 7 | Крышка распределителя | 175-15-45530 | 1 | |||
| 8 | Прокладка | 175-15-45540 | 1 | |||
| 9 | Шпилька | 01124-51025 | 4 | |||
| 10 | Шайба пружинная | 01602-21030 | 4 | |||
| 11 | Гайка | 01580-11008 | 4 | |||
| 12 | Втулка | 175-15-45550 | 2 | |||
| 13 | Кольцо уплотнительное | 07000-63028 | 4 | |||
| 14 | Пробка | 07040-15223 | 1 | |||
| 15 | Кольцо уплотнительное | 07002-05234 | 1 | |||
| 16 | Вал | 175-15-45560 | 1 | |||
| 17 | Шайба | 175-15-45570 | 1 | |||
| 18 | Кольцо пружинное | 04064-01812 | 1 | |||
| 19 | Подшипник игольчатый | 06120-02016 | 2 | |||
| 20 | Сальник | 144-15-29110 | 1 | |||
| 21 | Вал | 175-15-45610 | 1 | |||
| 22 | Шайба | 175-15-45570 | 1 | |||
| 23 | Кольцо пружинное | 04064-01812 | 1 | |||
| 24 | Стопор | 175-15-45620 | 1 | |||
| 25 | Шплинт | 04050-03040 | 1 | |||
| 26 | Подшипник игольчатый | 06120-02016 | 1 | |||
| 27 | Подшипник игольчатый | 06121-02016 | 1 | |||
| 28 | Сальник | 144-15-29110 | 1 | |||
| 29 | Рычаг | 175-15-45630 | 1 | |||
| 30 | Болт | 125-15-11530 | 1 | |||
| 31 | Проволока | 04059-01010 | 1 | |||
| 32 | Болт | 175-15-45650 | 1 | |||
| 33 | Рычаг | 175-15-45690 | 1 | |||
| 34 | Подшипник | 144-15-29120 | 2 | |||
| 35 | Подшипник | 144-15-25690 | 1 | |||
| 36 | Втулка | 175-15-45670 | 1 | |||
| 37 | Шайба | 175-15-45660 | 2 | |||
| 38 | Гайка | 01580-11008 | 1 | |||
| 39 | Шайба пружинная | 01602-21030 | 1 | |||
| 40 | Пружина | 175-15-45710 | 1 | |||
| 41 | Кольцо уплотнительное | 07002-01223 | 1 | |||
| 42 | Пластина | 175-15-45750 | 1 | |||
| 43 | Прокладка | 175-15-45760 | 1 | |||
| 44 | Болт | 01010-51020 | 2 | |||
| 45 | Шайба пружинная | 01602-21030 | 2 | |||
| 46 | Кронштейн | 175-15-45780 | 1 | |||
| 47 | Болт | 01010-51020 | 2 | |||
| 48 | Шайба пружинная | 01602-21030 | 2 | |||
Обращаем Ваше внимание, что пункты отмеченные звездочкой, обязательны для заполнения.