| ||||||
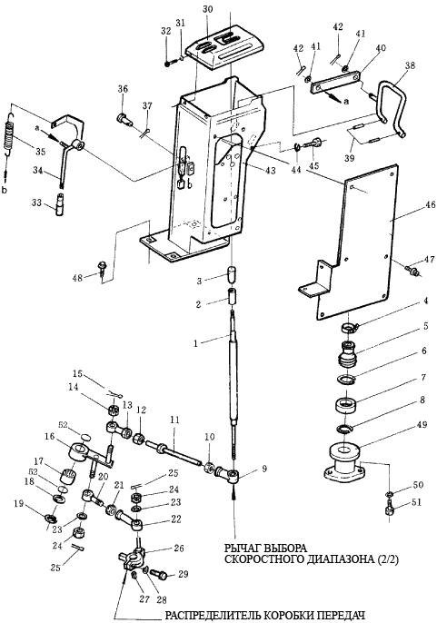
| № п/п | Наименование | Код детали | SD32 | |||
| 1 | Рычаг | 175-43-54141 | 1 | |||
| 2 | Втулка | 09361-01460 | 1 | |||
| 3 | Головка | 09304-01240 | 1 | |||
| 4 | Скоба крепежная | 07281-00359 | 1 | |||
| 5 | Шланг | 175-43-54230 | 1 | |||
| 6 | Кольцо пружинное | 04065-03012 | 1 | |||
| 7 | Втулка | 195-43-25310 | 1 | |||
| 8 | Кольцо пружинное | 04064-01710 | 1 | |||
| 9 | Соединение | 04250-61056 | 1 | |||
| 10 | Гайка | 01508-21006 | 1 | |||
| 11 | Рычаг | 04248-31044 | 1 | |||
| 12 | Гайка | 01582-11008 | 1 | |||
| 13 | Соединение | 04250-41056 | 1 | |||
| 14 | Гайка | 01593-11008 | 1 | |||
| 15 | Штифт | 04050-12018 | 1 | |||
| 16 | Соединение | 175-43-42750 | 1 | |||
| 17 | Подшипник HK202612 | 06120-02016 | 1 | |||
| 18 | Шайба | 01640-22032 | 1 | |||
| 19 | Кольцо пружинное | 04064-02012 | 1 | |||
| 20 | Соединение | 04252-01061 | 1 | |||
| 21 | Гайка | 01582-11008 | 1 | |||
| 22 | Соединение | 04250-41056 | 1 | |||
| 23 | Кольцо пружинное | 04254-01032 | 2 | |||
| 24 | Гайка | 01593-11008 | 2 | |||
| 25 | Штифт | 04050-12018 | 2 | |||
| 26 | Соединение | 175-43-41241 | 1 | |||
| 27 | Шпонка | 04010-10516 | 1 | |||
| 28 | Шайба | 01602-20825 | 1 | |||
| 29 | Болт | 01010-50830 | 1 | |||
| 30 | Пластина | 175-43-38262 | 1 | |||
| 31 | Шайба | 01643-30823 | 4 | |||
| 32 | Винт | 01220-40816 | 4 | |||
| 33 | Головка | 09305-00800 | 1 | |||
| 34 | Рычаг | 175-43-41252 | 1 | |||
| 35 | Пружина | 175-43-38270 | 1 | |||
| 36 | Вал | 04205-11658 | 1 | |||
| 37 | Штифт | 04050-14026 | 1 | |||
| 38 | Рычаг | 175-43-54191 | 1 | |||
| 39 | Штифт | 04050-11610 | 4 | |||
| 40 | Рычаг | 175-43-54211 | 1 | |||
| 41 | Шайба | 01640-20610 | 2 | |||
| 42 | Штифт | 04050-11610 | 4 | |||
| 43 | Корпус | 175-43-41115 | 1 | |||
| 44 | Шайба | 01643-31232 | 8 | |||
| 45 | Болт | 01010-51225 | 6 | |||
| 46 | Пластина | 175-43-41863 | 1 | |||
| 47 | Винт | 195-54-26210 | 8 | |||
| 48 | Винт | 195-54-26230 | 1 | |||
| 49 | Кронштейн | 195-43-25290 | 1 | |||
| 50 | Шайба | 01643-31032 | 2 | |||
| 51 | Болт | 01010-51025 | 2 | |||
| 52 | Кольцо уплотнительное | 06122-02004 | 2 | |||
Обращаем Ваше внимание, что пункты отмеченные звездочкой, обязательны для заполнения.