| ||||||
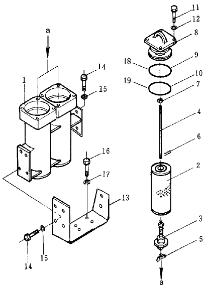
| № п/п | Наименование | Код детали | SD32 | |||
| 1 | Корпус | 171-74-01000 | 1 | |||
| 2 | Фильтрующий элемент | 175-49-11580 | 2 | |||
| 3 | Клапан в сборе | 175-49-25530 | 2 | |||
| 4 | Шток | 175-49-25540 | 2 | |||
| 5 | Гайка | 01540-01050 | 2 | |||
| 6 | Шплинт | 04050-02018 | 2 | |||
| 7 | Гайка | 01582-01008 | 2 | |||
| 8 | Крышка | 195-49-13740 | 2 | |||
| 9 | Кольцо уплотнительное | 07000-02115 | 2 | |||
| 10 | Кольцо уплотнительное | 07000-02110 | 2 | |||
| 11 | Болт | 01010-51440 | 8 | |||
| 12 | Шайба | 01643-31445 | 8 | |||
| 13 | Кронштейн | 171-74-00001 | 1 | |||
| 14 | Болт | 01010-51235 | 6 | |||
| 15 | Шайба | 01602-21236 | 6 | |||
| 16 | Болт | 01010-51035 | 4 | |||
| 17 | Шайба | 01602-21030 | 4 | |||
| 18 | Кольцо уплотнительное | 07000-02115 | 2 | |||
| 19 | Кольцо уплотнительное | 07000-42110 | 2 | |||
Обращаем Ваше внимание, что пункты отмеченные звездочкой, обязательны для заполнения.