| ||||||
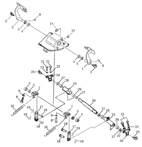
| № п/п | Наименование | Код детали | SD32 | |||
| 1 | педаль, левая | 16Y-26C-01000 | 1 | |||
| 2 | педаль, правая | 16Y-26C-02000 | 1 | |||
| 3 | масленка | 07021-01090 | 2 | |||
| 4 | подшипник | HK354220 | 4 | |||
| 5 | пыльник | 01622-03504 | 4 | |||
| 6 | ключ | 04010-01032 | 2 | |||
| 7 | рычаг | 10Y-26-13000 | 2 | |||
| 8 | болт | 01010-51235 | 2 | |||
| 9 | шайба | 01643-31232 | 2 | |||
| 10 | кронштейн | 10Y-26-00003 | 2 | |||
| 14 | болт резиновой прокладки | 09311-41237 | 2 | |||
| 15 | гайка | 01580-11210 | 2 | |||
| 16 | пружина | 154-43-41260 | 2 | |||
| 17 | муфта | 10Y-26-00004 | 2 | |||
| 18 | штифт вала | 04205-11440 | 4 | |||
| 19 | шплинт | 04050-14022 | 4 | |||
| 20 | вал | 171-26-00002 | 1 | |||
| 21 | болт | 01010-51225 | 4 | |||
| 22 | шайба | 01643-31232 | 4 | |||
| 23 | рычаг левый | 171-26-01000 | 1 | |||
| 24 | рычаг правый | 171-26-02000 | 1 | |||
| 25 | масленка | 07021-01090 | 2 | |||
| 26 | подшипник | HK303720 | 4 | |||
| 27 | пыльник | 06122-03004 | 4 | |||
Обращаем Ваше внимание, что пункты отмеченные звездочкой, обязательны для заполнения.