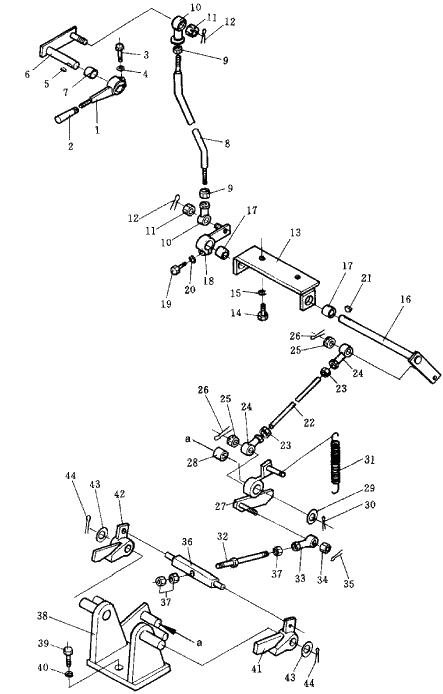
| ||||||
| № п/п | Наименование | Код детали | SD32 | |||
| 1 | рычаг | 195-43-24560 | 1 | |||
| 2 | головка | 09305-00800 | 1 | |||
| 3 | болт | 01010-50830 | 1 | |||
| 4 | шайба пружинная | 01602-20825 | 1 | |||
| 5 | ключ | 04010-10516 | 1 | |||
| 6 | рычаг | 195-43-24551 | 1 | |||
| 7 | проставка | 09350-01615 | 2 | |||
| 8 | тяга | 195-43-24541 | 1 | |||
| 9 | гайка | 01580-10806 | 2 | |||
| 10 | муфта подшипника | 04250-40847 | 2 | |||
| 11 | гайка | 01590-10809 | 2 | |||
| 12 | шплинт | 04050-12016 | 2 | |||
| 13 | кронштейн | 175-43-42740 | 1 | |||
| 14 | болт | 01010-51230 | 2 | |||
| 15 | шайба | 01643-31232 | 2 | |||
| 16 | рычаг | 195-43-24531 | 1 | |||
| 17 | проставка | 09350-01615 | 2 | |||
| 18 | рычаг | 175-43-41382 | 1 | |||
| 19 | болт | 01010-50830 | 1 | |||
| 20 | шайба пружинная | 01602-20825 | 1 | |||
| 21 | ключ | 04010-10516 | 1 | |||
| 22 | тяга | 04245-40823 | 1 | |||
| 23 | гайка | 01580-10806 | 2 | |||
| 24 | муфта подшипника | 04250-40847 | 2 | |||
| 25 | гайка | 01590-10809 | 2 | |||
| 26 | шплинт | 04050-12016 | 2 | |||
| 27 | рычаг | 175-43-41413 | 1 | |||
| 28 | проставка | 195-43-12640 | 1 | |||
| 29 | шайба | 01641-21626 | 1 | |||
| 30 | шплинт | 04050-14026 | 1 | |||
| 31 | пружина | 103-33-11260 | 1 | |||
| 32 | тяга | 195-43-24491 | 1 | |||
| 33 | муфта подшипника | 04250-40847 | 1 | |||
| 34 | гайка | 01590-10809 | 1 | |||
| 35 | шплинт | 04050-12016 | 1 | |||
| 36 | балка | 195-43-21940 | 1 | |||
| 37 | гайка | 01580-10806 | 3 | |||
| 38 | кронштейн | 175-43-41452 | 1 | |||
| 39 | болт | 01010-51640 | 2 | |||
| 40 | шайба | 01643-31645 | 2 | |||
| 41 | защёлка, левая | 195-43-24471 | 1 | |||
| 42 | защёлка, правая | 195-43-24481 | 1 | |||
| 43 | шайба | 01640-22032 | 2 | |||
| 44 | шплинт | 04050-14028 | 2 | |||
Обращаем Ваше внимание, что пункты отмеченные звездочкой, обязательны для заполнения.