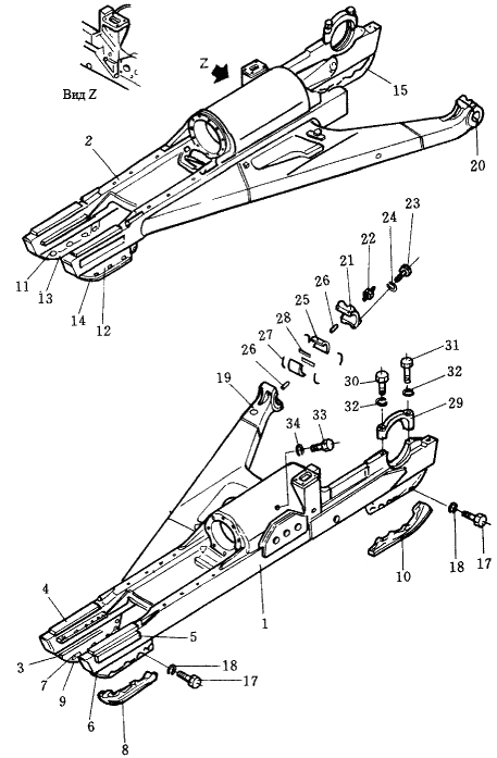
| ||||||
| № п/п | Наименование | Код детали | SD32 | |||
| 0 | рама гусеницы в сборе | 175-30-30004 | 1 | |||
| 1 | рама гусеницы левая | 175-30-31115 | 1 | |||
| 2 | рама гусеницы правая | 175-30-31218 | 1 | |||
| 3 | пластина (сварная) | 175-30-13252 | 4 | |||
| 4 | пластина (сварная) | 175-30-21333 | 4 | |||
| 5 | пластина (сварная) | 175-30-21342 | 4 | |||
| 6 | защитный кожух (сварной) | 175-30-21353 | 1 | |||
| 7 | защитный кожух (сварной) | 175-30-21363 | 2 | |||
| 8 | пластина | 178-30-12161 | 1 | |||
| 9 | пластина | 178-30-12171 | 1 | |||
| 10 | пластина | 178-30-12140 | 1 | |||
| 11 | защитный кожух (сварной) | 175-30-21363 | 1 | |||
| 12 | защитный кожух (сварной) | 175-30-21353 | 2 | |||
| 13 | пластина | 178-30-12171 | 1 | |||
| 14 | пластина | 178-30-12161 | 1 | |||
| 15 | пластина | 178-30-12150 | 1 | |||
| 17 | болт | 01010-52045 | 24 | |||
| 18 | шайба | 01643-32060 | 24 | |||
| 19 | шарнирный хомут левый (сварной) | 175-30-31142 | 1 | |||
| 20 | шарнирный хомут правый (сварной) | 175-30-31242 | 1 | |||
| 21 | крышка | 154-30-11612 | 2 | |||
| 22 | масленка | 07020-01018 | 2 | |||
| 23 | болт | 01011-52400 | 8 | |||
| 24 | шайба пружинная | 01602-22472 | 8 | |||
| 25 | проставка | 154-30-11810 | 4 | |||
| 26 | штифт установочный | 04020-01024 | 4 | |||
| 27 | уплотнение | 154-30-11821 | 8 | |||
| 28 | уплотнение | 154-30-11831 | 4 | |||
| 29 | левая опора крышки | 175-30-31530 | 1 | |||
| 29 | правая опора крышки | 175-30-31540 | 1 | |||
| 30 | болт | 01051-53040 | 2 | |||
| 31 | болт | 01051-53090 | 2 | |||
| 32 | шайба пружинная | 01602-23075 | 4 | |||
| 33 | пробка | 07040-13016 | 2 | |||
| 34 | кольцо уплотнительное | 07002-03034 | 2 | |||
Обращаем Ваше внимание, что пункты отмеченные звездочкой, обязательны для заполнения.