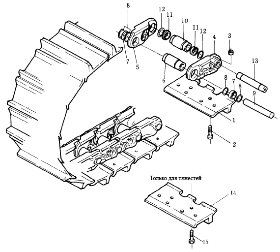
| ||||||
| № п/п | Наименование | Код детали | SD32 | |||
| 0 | Гусеница в сборе | 8203MJ-39156 | 1 | |||
| 1 | башмак гусеничной цепи | 8228MA-00156 | 82 | |||
| 2 | болт | 8228MA-00062 | 328 | |||
| 3 | гайка | 8228MA-00061 | 328 | |||
| 4 | звено траковой цепи в сборе | 8228MC-41000 | 1 | |||
| 4 | звено траковой цепи левое | 8228MC-00011 | 82 | |||
| 5 | звено траковой цепи правое | 8228MC-00021 | 82 | |||
| 6 | проставка обычная | 8228MA-00031 | 78 | |||
| 7 | прокладка обычная | 8228MA-00051 | 156 | |||
| 8 | шайба | 8228MA-00053 | 312 | |||
| 9 | штифт обычный | 8228MA-00041 | 78 | |||
| 10 | проставка главная | 8228MA-00032 | 4 | |||
| 11 | прокладка главная | 8228MA-00052 | 8 | |||
| 12 | шайба | 8228MA-00053 | 8 | |||
| 13 | штифт главный | 8228MA-00042 | 4 | |||
| 14 | большой башмак гусеничной цепи | 175-32-31313 | 82 | |||
| 15 | болт башмака гусеничной цепи | 8228MC-00062 | 328 | |||
Обращаем Ваше внимание, что пункты отмеченные звездочкой, обязательны для заполнения.