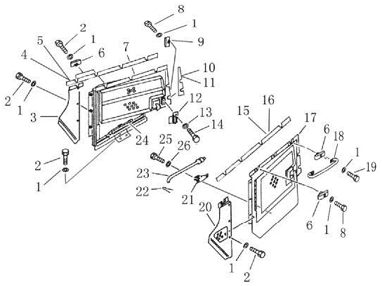
| ||||||
| № п/п | Наименование | Код детали | SD32 | |||
| 1 | шайба 12 | 01643-31232 | 24 | |||
| 2 | болт M12х35 | 01010-51235 | 14 | |||
| 3 | пластина | 24M-54-24000 | 1 | |||
| 4 | пластина | 171-54-00001 | 1 | |||
| 5 | пластина | 171-54-00002 | 1 | |||
| 6 | стопор | 23Y-54-13000 | 10 | |||
| 7 | крышка правая | 171-54-02000 | 1 | |||
| 8 | болт M12х55 | 01010-51255 | 6 | |||
| 9 | пластина | 24M-54-10004 | 2 | |||
| 10 | шайба | 24M-54-20003 | 1 | |||
| 11 | шайба | 24M-54-10003 | 1 | |||
| 12 | кронштейн | 195-54-42300 | 2 | |||
| 13 | шайба | 01643-31032 | 4 | |||
| 14 | болт M10х20 | 01010-51020 | 4 | |||
| 15 | шайба | 171-54-00003 | 1 | |||
| 16 | шайба | 171-54-00004 | 1 | |||
| 17 | крышка левая | 171-54-01000 | 1 | |||
| 18 | ручка | 09420-01903 | 2 | |||
| 19 | болт M12х65 | 01010-51265 | 4 | |||
| 20 | пластина (левая) | 24M-54-11000 | 1 | |||
| 21 | пружина | 198-54-19150 | 2 | |||
| 22 | шплинт | 04050-12015 | 2 | |||
| 23 | балка, левая | 154-54-43240 | 1 | |||
| 24 | балка, правая | 154-54-43250 | 1 | |||
| 25 | болт M6х12 | 01010-50612 | 4 | |||
| 26 | шайба 6 | 01643-30623 | 4 | |||
Обращаем Ваше внимание, что пункты отмеченные звездочкой, обязательны для заполнения.