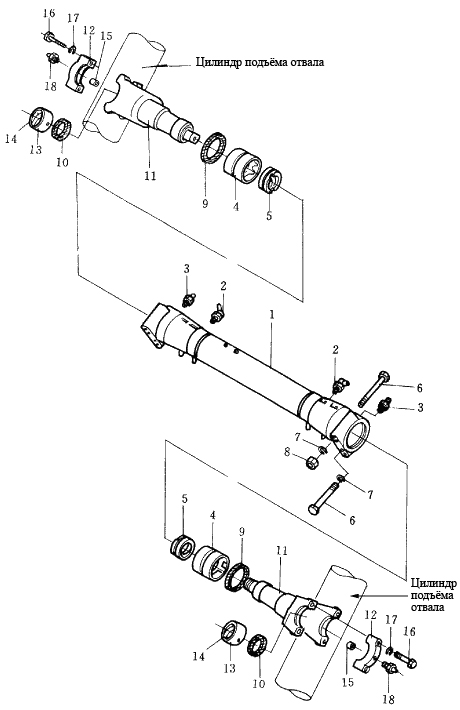
| ||||||
| № п/п | Наименование | Код детали | SD32 | |||
| 0 | опора цилиндра в сборе | 175-61-C1000 | 1 | |||
| 1 | опора цилиндра | 175-61-C1110 | 1 | |||
| 2 | масленка | 07021-01060 | 2 | |||
| 3 | масленка | 07020-01018 | 2 | |||
| 4 | проставка | 175-61-15140 | 2 | |||
| 5 | проставка | 175-61-15151 | 2 | |||
| 6 | болт | 175-61-15130 | 8 | |||
| 7 | шайба пружинная | 01602-22783 | 8 | |||
| 8 | гайка | 01580-12722 | 4 | |||
| 9 | пыльник | 07145-10125 | 2 | |||
| 10 | пыльник | 07145-10085 | 4 | |||
| 11 | сиденье | 175-61-12114 | 2 | |||
| 12 | крышка | 175-60-19121 | 4 | |||
| 13 | проставка в сборе | 175-61-15201 | 4 | |||
| 14 | пробка | 175-60-19141 | 1 | |||
| 15 | штифт установочный | 170-70-15190 | 4 | |||
| 16 | болт | 01010-51890 | 8 | |||
| 17 | шайба пружинная | 01602-21854 | 8 | |||
| 18 | масленка | 07020-01018 | 4 | |||
Обращаем Ваше внимание, что пункты отмеченные звездочкой, обязательны для заполнения.